The rapid evolution of 5G and emerging 6G networks creates an urgent need for intelligent, adaptive, and energy-efficient solutions that can operate at the edge under strict compute and power constraints. Current deep learning approaches are accurate but computationally expensive, limiting deployment in real-world embedded systems.
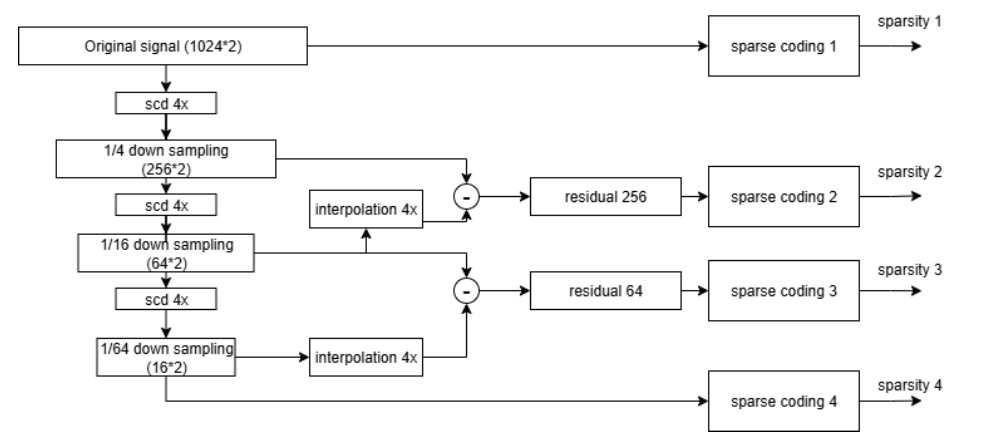
In this study, we introduce an efficient and transparent green learning pipeline designed to address the Automatic Modulation Classification (AMC) problem which is essential for cognitive radio. The goal of this pipeline is to enable wireless receivers to blindly identify modulation schemes of incoming signals in a computationally efficient manner while maintaining a compact model size suitable for deployment on edge or embedded systems. Our proposed approach consists of three main stages. First, the input signal is converted into a precise intermediate representation using a sparse coding method, which captures essential structural and statistical characteristics while suppressing redundant information. Second, we extract a diverse set of informative features from this sparse representation and the original signal statistics to ensure robustness against channel distortions and noise variations. Finally, a hierarchical classification subspace is constructed based on a tree-structured model, allowing the system to progressively distinguish between modulation categories with minimal computational burden.

